Trong lĩnh vực logistics và vận hành cảng biển, việc nắm vững cách đọc vị trí container trên bãi là kỹ năng quan trọng giúp tối ưu thời gian tìm kiếm, bốc xếp và quản lý hàng hóa. Mỗi container đều được sắp xếp theo một hệ thống mã hóa cụ thể dựa trên block, row, bay và tier, đòi hỏi người vận hành phải hiểu đúng để tránh nhầm lẫn và giảm thiểu sai sót. Khi hiểu rõ cách đọc vị trí container trên bãi, doanh nghiệp có thể nâng cao hiệu suất khai thác và đảm bảo quy trình giao nhận diễn ra nhanh chóng, chính xác.

Vì sao cần biết đọc vị trí container trên bãi?
Trong một bãi container khổng lồ với sức chứa hàng chục nghìn TEU, việc tìm kiếm một thùng hàng cụ thể giống như tìm kim đáy bể nếu bạn không hiểu quy luật sắp xếp. Cách đọc vị trí container trên bãi chính là “chìa khóa” để vận hành tốt hơn.

Giúp tiết kiệm thời gian tìm container
Đối với tài xế xe đầu kéo hoặc nhân viên kiểm đếm, thời gian là vàng bạc. Khi nắm rõ quy trình đọc vị trí, tài xế có thể di chuyển thẳng đến đúng Block, dãy và hàng cần thiết mà không phải chạy lòng vòng. Điều này đặc biệt quan trọng tại các cảng lớn thường xuyên xảy ra tình trạng ùn tắc như Cát Lái hay Đình Vũ.
Hạn chế sai sót khi giao nhận hàng
Việc đọc sai tọa độ dẫn đến nâng nhầm container không chỉ gây mất thời gian mà còn kéo theo các rắc rối về thủ tục hải quan và kiểm định. Hiểu đúng vị trí container trên bãi giúp nhân viên hiện trường đối soát chính xác với Phiếu giao nhận container (EIR), đảm bảo đúng số container, đúng số seal trước khi ra khỏi cổng cảng.
Ứng dụng trong logistics – xuất nhập khẩu – kho bãi
Đối với nhân viên văn phòng (OP) hoặc nhân viên điều vận của các công ty Forwarder, việc hiểu các ký hiệu này giúp họ tư vấn chính xác cho khách hàng về tiến độ hạ bãi, thời gian dự kiến lấy hàng (ETA) và phối hợp nhịp nhàng với đơn vị vận tải.
Phân biệt đọc vị trí container trên bãi và trên tàu
Đây là điểm mà nhiều người mới vào nghề thường nhầm lẫn.
- Trên tàu: Vị trí được xác định dựa trên cấu trúc boong và hầm tàu, thường liên quan đến sơ đồ xếp tải (Bay Plan) phức tạp hơn để đảm bảo tính ổn định của tàu.
- Trên bãi: Vị trí tuân theo hệ tọa độ phẳng chia theo các Block (khu vực) cố định trên mặt đất.
Việc phân biệt rõ hai khái niệm này giúp bạn tránh những lỗi ngớ ngẩn khi trao đổi thông tin với hãng tàu hoặc cảng.
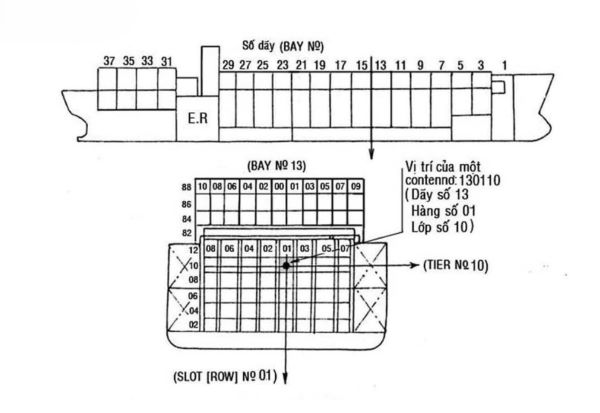
Cách đánh số vị trí container trên bãi (Row – Bay – Tier)
Để hiểu cách đọc vị trí container trên bãi, bạn cần ghi nhớ hệ tọa độ container: BAY – ROW – TIER. Đây là quy chuẩn quốc tế được áp dụng tại hầu hết các cảng và kho bãi hiện đại.

Bay (Số dãy container)
Bay (Dãy) xác định vị trí dọc theo chiều dài của một Block container.
- Nguyên tắc đánh số: Thông thường, các dãy được đánh số thứ tự từ đầu bãi đến cuối bãi. Một điểm thú vị là số Bay thường gắn liền với kích thước container. Các số lẻ (01, 03, 05…) thường dành cho container 20 feet. Khi hai slot 20 feet kết hợp lại để đặt một container 40 feet, vị trí đó sẽ được gọi bằng số chẵn ở giữa (ví dụ: Bay 01 và 03 kết hợp thành Bay 02 cho cont 40ft).
- Ý nghĩa vận hành: Giúp thiết bị nâng hạ (RTG/Cranes) xác định được lát cắt dọc mà họ cần tác động.
Row (Số hàng container)
Row (Hàng) xác định vị trí theo chiều ngang (chiều rộng) của một dãy.
- Quy ước đánh số chẵn – lẻ: Tại nhiều bãi cảng, người ta lấy hàng ở giữa làm tâm. Các hàng bên phải số tâm thường được đánh số lẻ (01, 03, 05…), các hàng bên trái đánh số chẵn (02, 04, 06…). Tuy nhiên, một số bãi đơn giản hơn sẽ đánh số liên tục từ 01 từ trái sang phải.
- Cách nhận diện thực tế: Khi đứng ở đầu một dãy (Bay), các hàng container xếp song song với nhau chính là các Row.
Tier (Số tầng container)
Tier (Tầng) xác định độ cao hay vị trí xếp chồng của container.
- Nguyên tắc xếp container: Container luôn được xếp từ dưới đất lên cao.
- Đọc tầng container đúng cách: Tầng dưới cùng (sát đất) thường bắt đầu bằng số 02 (hoặc 01 tùy cảng), tầng tiếp theo là 04, 06, 08… Việc đánh số chẵn (02, 04, 06) là quy ước phổ biến trong hệ thống quản lý cảng (TOS) để dành các số lẻ cho những trường hợp đặc biệt hoặc đơn giản là theo thói quen lập trình hệ thống.
Cấu trúc Block trong bãi container
Trước khi tìm đến Bay-Row-Tier, bạn phải tìm đúng Block. Một bãi container lớn được chia thành nhiều Block (Khu vực) ký hiệu bằng chữ cái (A, B, C…) hoặc số (Block 01, 102…). Mỗi Block sẽ chứa hàng chục dãy (Bay). Ví dụ: Block A – Bay 05 – Row 02 – Tier 04.
Hướng dẫn cách đọc vị trí container trên bãi chi tiết từng bước
Dưới đây là quy trình thực tế giúp bạn xác định vị trí container 6 số trên tàu và trên bãi một cách chuyên nghiệp.

Bước 1: Tra cứu thông tin container
Trước khi ra bãi, bạn cần có “địa chỉ” của container. Thông tin này thường xuất hiện ở:
- Booking/D/O: Lệnh giao hàng hoặc lệnh cấp rỗng.
- EIR (Equipment Interchange Receipt): Phiếu giao nhận container. Đây là chứng từ quan trọng nhất có ghi rõ vị trí (Position).
- Hệ thống TOS (Terminal Operating System): Tra cứu trực tuyến trên website của cảng bằng cách nhập số container.
Bước 2: Xác định Block – Bay – Row – Tier
Khi nhìn vào dãy số vị trí trên phiếu (ví dụ: A-05-03-02), hãy phân tích theo thứ tự:
- A: Tên Block.
- 05: Số Bay (Dãy thứ 5).
- 03: Số Row (Hàng thứ 3).
- 02: Số Tier (Tầng 1 – tầng sát đất).
Bước 3: Đối chiếu sơ đồ bãi container
Tại cổng cảng hoặc các văn phòng điều độ luôn có sơ đồ tổng thể (Master Plan). Hãy đối chiếu mã Block để biết mình cần di chuyển về hướng nào (ví dụ: Block A nằm gần cầu tàu, Block E nằm gần cổng ra).
Ví dụ minh họa cách đọc vị trí container thực tế
Giả sử bạn có tọa độ: B1-12-04-06.
- B1: Bạn tìm đến khu vực Block B, phân khu 1.
- 12: Đây là số chẵn, khả năng cao là vị trí của một container 40 feet nằm tại dãy 12.
- 04: Hàng thứ 4 tính từ mốc quy ước của bãi.
- 06: Tầng thứ 3 (vì 02 là tầng 1, 04 là tầng 2, 06 là tầng 3).
Cách xác định vị trí container ngoài thực tế tại bãi
Lý thuyết là vậy, nhưng khi đứng giữa hàng ngàn “hộp sắt”, bạn cần những kỹ năng thực chiến sau:
Quan sát sơ đồ bãi container
Hầu hết các cảng hiện đại như Cát Lái (TP.HCM) hay Tân Vũ (Hải Phòng) đều có bảng sơ đồ lớn ở các ngã rẽ chính. Hãy dừng lại 30 giây để định vị vị trí hiện tại của mình so với Block đích.
Nhận diện bảng chỉ dẫn tại bãi
Trên mặt đất hoặc trên các cột đèn tại bãi luôn có sơn số hiệu Bay và Block.
- Số sơn dưới lòng đường: Thường chỉ số Bay.
- Bảng tên cắm đầu dãy: Ghi rõ Block và phạm vi các Bay có trong khu vực đó.
Cách tìm container khi bãi đông
Vào giờ cao điểm, các xe nâng (Reach Stacker) hoạt động liên tục làm khuất tầm nhìn. Hãy chú ý đến số container in ở phía sau và bên hông thùng. Nếu bạn tìm thấy container số hiệu gần đúng với số mình cần, bạn đang ở rất gần mục tiêu.
Checklist thao tác tìm container nhanh
Dưới đây là quy trình tóm gọn tìm container nhanh:
- Kiểm tra EIR: Xác nhận số hiệu container và mã vị trí.
- Định vị Block: Nhìn biển báo lớn để di chuyển vào đúng khu vực.
- Tìm số Bay: Quan sát số sơn trên đường nhựa hoặc biển báo đầu dãy.
- Đếm hàng (Row): Xác định hàng từ trái/phải hoặc từ tâm.
- Xác nhận tầng (Tier): Nhìn độ cao để báo xe nâng hạ chính xác.
- Đối soát số Container: Bước cuối cùng, kiểm tra 4 chữ cái và 7 chữ số (ví dụ: TRPU 1234567) để đảm bảo không lấy nhầm hàng.
Những lỗi thường gặp khi đọc vị trí container
Ngay cả những người có kinh nghiệm cũng đôi khi mắc sai lầm do sự khác biệt trong quy ước giữa các cảng.
Nhầm Row và Bay
Nhiều người nhầm tưởng Bay là hàng ngang và Row là dãy dọc. Hãy nhớ: Bay = Dọc (Length), Row = Ngang (Width). Nhầm lẫn này khiến bạn đi lạc sang dãy bên cạnh dù đã đứng đúng hàng.
Đọc sai Tier container
Một số hệ thống ký hiệu tầng là 1, 2, 3 nhưng đa số là 02, 04, 06. Nếu bạn báo với tài xế xe nâng “lấy tầng 3” trong khi hệ thống ghi “06”, có thể gây ra sự bối rối trong phối hợp.
Không kiểm tra Block container
Tại các cảng lớn, có nhiều Block có tên gần giống nhau (Ví dụ: Block A1 và Block AA). Việc không đọc kỹ ký tự đầu tiên khiến bạn mất hàng giờ tìm kiếm trong vô vọng.
Hậu quả khi xác định sai vị trí container
- Phát sinh phí đảo chuyển (Shifting): Nếu container bạn cần nằm ở dưới cùng (Tier 02) nhưng bạn báo sai vị trí, xe nâng phải nhấc các container phía trên ra chỗ khác, bạn sẽ bị tính phí.
- Trễ chuyến tàu (Missed Vessel): Hàng xuất không hạ bãi đúng vị trí quy định có thể bị “rớt tàu” do bộ phận xếp dỡ không tìm thấy hàng.
Tra cứu vị trí container ở đâu chính xác?
Việc tra cứu đã trở nên cực kỳ dễ dàng nhờ công nghệ số.

Tra cứu qua hệ thống cảng
Các website cảng là nguồn tin cậy nhất:
- Cảng Cát Lái: Truy cập ePort của Saigon Newport để kiểm tra tình trạng và vị trí thực tế.
- Cảng Hải Phòng: Sử dụng hệ thống tra cứu container tại các chi nhánh Tân Vũ, Chùa Vẽ.
- Cảng Đà Nẵng: Tra cứu qua hệ thống Tiên Sa.
Tra cứu qua hãng tàu
Hầu hết các hãng tàu lớn (Maersk, MSC, COSCO, ONE…) đều có tính năng “Track & Trace” trên website hoặc app. Bạn chỉ cần nhập số container sẽ biết hàng đang ở cảng nào, đã hạ bãi hay chưa.
Tra cứu qua forwarder / đơn vị logistics
Nếu bạn là chủ hàng, cách nhanh nhất là liên hệ với đơn vị Forwarder. Họ có tài khoản chuyên dụng trên hệ thống cảng để theo dõi vị trí container của bạn theo thời gian thực.
Hướng dẫn đi xem hàng tại bãi Trần Phạm
Để giúp khách hàng có trải nghiệm tốt nhất khi mua bán hoặc thuê container tại Trần Phạm CONTAINER, chúng tôi xin hướng dẫn quy trình kiểm tra thực tế tại bãi:
Quy trình vào bãi Trần Phạm
- Đăng ký: Liên hệ hotline hoặc bộ phận kinh doanh để đặt lịch hẹn.
- Xuất trình giấy tờ: Khách hàng đến cổng bãi, xuất trình thẻ căn cước và thông tin lịch hẹn.
- Hướng dẫn viên: Nhân viên bãi sẽ trực tiếp dẫn khách hàng đến đúng vị trí container đã chọn.
Hồ sơ cần chuẩn bị
Hồ sơ cần chuẩn bị như sau:
- Giấy giới thiệu (nếu là nhân viên công ty).
- Lệnh cấp container hoặc phiếu đặt cọc.
- Thiết bị chụp ảnh để ghi lại tình trạng container (Sàn, vách, cửa, đà).
Lưu ý khi kiểm tra container tại bãi
Khi xem hàng trực tiếp tại bãi, ngoài việc tìm đúng vị trí container trên bãi, bạn cần kiểm tra:
- Ánh sáng: Kiểm tra xem container có bị thủng (lọt sáng) hay không bằng cách đóng cửa lại.
- Mùi: Đặc biệt quan trọng với container kho (đảm bảo không ám mùi hóa chất, ẩm mốc).
- Vận hành: Thử đóng mở cửa xem bản lề có trơn tru không.
Kinh nghiệm làm việc thực tế tại bãi Trần Phạm
Tại bãi của chúng tôi, các container được sắp xếp theo quy chuẩn khoa học:
- Khu vực container văn phòng.
- Khu vực container kho 20ft/40ft.
- Khu vực container hoán cải.
Chúng tôi luôn cập nhật vị trí container 6 số trên hệ thống nội bộ, giúp khách hàng chỉ mất chưa đầy 5 phút để tiếp cận đúng sản phẩm cần xem.
Hiểu và áp dụng đúng cách đọc vị trí container trên bãi không chỉ giúp tiết kiệm thời gian tìm kiếm mà còn giảm thiểu sai sót trong quá trình bốc xếp và giao nhận hàng hóa. Đây là kỹ năng nền tảng đối với nhân sự cảng, kho bãi và logistics, góp phần nâng cao hiệu suất vận hành và tối ưu chi phí cho doanh nghiệp. Khi nắm vững cách đọc vị trí container trên bãi, quy trình quản lý hàng hóa sẽ trở nên khoa học, chính xác và chuyên nghiệp hơn.
Nếu bạn đang tìm kiếm giải pháp container toàn diện, Trần Phạm tự tin mang đến dịch vụ cho thuê – mua/bán container các loại, đảm bảo sự lựa chọn đa dạng và phù hợp nhất cho Quý khách hàng với kinh nghiệm lâu năm trong ngành logistics. Chúng tôi cung cấp từ container kho, container văn phòng đến các loại container lạnh với chất lượng được kiểm định khắt khe và hệ thống quản lý bãi hiện đại, chuyên nghiệp.

Có thể bạn quan tâm
Kích thước container lạnh 10, 20, 40, 45 feet là bao nhiêu?
Hiện nay, các kích thước container lạnh phổ biến trên thị trường gồm 10 feet,...
Cách xả đá container lạnh an toàn A-Z cho người mới
Trong quá trình vận hành container lạnh, hiện tượng dàn lạnh đóng tuyết hoặc đóng...
Vận chuyển container lạnh và những điều cần biết
Vận chuyển container lạnh đóng vai trò quan trọng trong việc bảo quản và lưu...
Kích thước cont 40HC – Bảng tiêu chuẩn mới nhất
Trong lĩnh vực vận tải và logistics, kích thước cont 40hc là thông tin quan...
Bãi container là gì? Vai trò bãi container [chi tiết]
Bãi container là một mắt xích không thể thiếu trong hạ tầng logistics hiện đại,...
Cách đọc vị trí container trên bãi nhanh chóng, chính xác nhất
Trong lĩnh vực logistics và vận hành cảng biển, việc nắm vững cách đọc vị...
Báo giá cho thuê container văn phòng giá rẻ
...
Dịch vụ cho thuê kho lạnh bằng Container uy tín, chuyên nghiệp
...